САМАЯ ЧЁРНАЯ
ПЯТНИЦА ДО 90%
Меню
Поиск
+375 (25) 753-57-04
Гомель
Выберите город
Россия
Беларусь
Детские кровати в Минске
Детские кровати в Барановичах
Детские кровати в Бобруйске
Детские кровати в Борисове
Детские кровати в Бресте
Детские кровати в Витебске
Детские кровати в Гомеле
Детские кровати в Гродно
Детские кровати в Молодечно
Детские кровати в Могилёве
Детские кровати в Новополоцке
Детские кровати в Орше
Детские кровати в Полоцке
Детские кровати в Слуцке
Ежедневно с 09:00 до 23:00
+375 (25) 753-57-04
sale@bestmebelshop.ru
Заказать звонок
Войти по номеру телефона
или
Войти по "номер заказа / номер телефона"
Телефон:
Номер заказа:
Назад
Войти по "логин / пароль"
Логин:
Пароль:
Назад
Регистрация
или войти с помощью
Войти с Яндекс ID
Нажимая на кнопку «Войти», вы соглашаетесь с условиями
Обработки персональных данных
и
политикой конфиденциальности
0
Корзина
Корзина
ИTОГО:
0 р.
Ваш город:
Заказать звонок
Главная
Каталог
Комоды и тумбы (2)
Комоды
Тумбы
Мебель для детской (2)
Детские кровати
Детские комнаты
Мебель для кухни (4)
Кухонные гарнитуры
Кухонные столы
Кухонные шкафы
Обеденные уголки
Мебель для офиса
Мебель для ванной (3)
Зеркала в ванную
Тумбы в ванную
Шкафы и пеналы
Мебель для спальни (4)
Кровати
Кровати-трансформеры
Спальные гарнитуры
Туалетные столики
Стеллажи
Прихожие
Стенки для гостиной
Столы (3)
Столы Журнальные
Столы Компьютерные
Столы Письменные
Шкафы (5)
Шкафы встроенные
Шкафы радиусные
Шкафы распашные
Шкафы угловые
Шкафы-купе
Двери-купе
Товары для дома (5)
Компьютерные кресла
Стулья и табуреты
Текстиль
Мебель для дачи
Ковры
Матрасы
Диваны
Кресла
Пуфы
Распродажа
Мебель на заказ
О фабрике
Оплата
Доставка
Сборка
Гарантия
Акции
Контакты
Дизайнерам
Заказать звонок
САМАЯ ЧЁРНАЯ ПЯТНИЦА!
СКИДКИ ДО 90%
До конца акции осталось:
К товарам
Подробнее
Подробнее
Подробнее
Подробнее
Подробнее
Если найдете дешевле
мы сделаем скидку!
Изменяйте размеры и
цвет любого товара!
Бесплатная доставка
по Гомелю!
Главная
Детские кровати
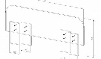
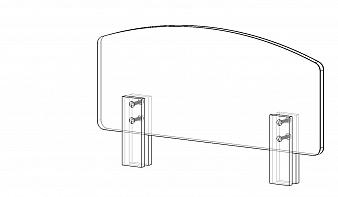
Бортики
Категории
Фильтр
Категории
Конструкция
16
Двухъярусные
Кровати Чердак
Кровати с бортиком
Кровати со шкафом
С полками
C диваном
Кровать со столом
Кровати-домики
Боковые
С крышей
С ящиками
Угловые
С лестницей
Трехъярусные
С подъемным механизмом
Софа, тахта, кушетка
Сбросить
Применить фильтр
Назначение
5
Подростковые кровати
Для девочки
Для мальчика
Для двоих
Для троих
Сбросить
Применить фильтр
Цвет
13
Серые
Черные
Венге
Зеленые
Синие
Бежевые
Коричневые
Темные
Сонома
Желтые
Оранжевые
Белые
Красные
Сбросить
Применить фильтр
Размер
7
Широкие
Индивидуальный размер
Низкие
Узкие
Маленькие
Большие
Высокие
Сбросить
Применить фильтр
Дополнительно
3
Лестницы
Ящики
Бортики
Сбросить
Применить фильтр
Цена
2
Распродажа детских кроватей
Дешевые
Сбросить
Применить фильтр
Возраст
3
от 7 лет
от 3 лет
от 5 лет
Сбросить
Применить фильтр
Материал
5
С каретной стяжкой
Велюр
из ЛДСП
Мягкие
из МДФ
Сбросить
Применить фильтр
Спальное место
3
Полутороспальные
Односпальные
Двуспальные
Сбросить
Применить фильтр
Стиль
5
Прованс
Лофт
Современные
Стильные
Новинки
Сбросить
Применить фильтр
Сортировка
Сортировать по:
Возрастанию цены
Убыванию цены
Популярности
Новинки
Цена:
222
Бортик для кровати Лис-2 BMS
4.3
17
Купить
Подробнее
Ширина
: от 600 до 2000
Высота
: от 350 до 650
Глубина
: 48
Цена:
226
Бортик для кровати Салли BMS
4.8
10
Купить
Подробнее
Ширина
: от 600 до 2000
Высота
: от 350 до 650
Глубина
: 48
Цена:
234
Бортик для кровати Бимбо BMS
4.7
4
Купить
Подробнее
Ширина
: от 600 до 2000
Высота
: от 350 до 650
Глубина
: 48
Цена:
206
Бортик для кровати АТ-5 BMS
4.3
9
Купить
Подробнее
Ширина
: от 600 до 2000
Высота
: от 350 до 650
Глубина
: 48
Цена:
350
Бортик для кровати Эврика BMS
4.6
18
Купить
Подробнее
Ширина
: от 600 до 2000
Высота
: от 350 до 650
Глубина
: 48
Цена:
286
Бортик для кровати Сказка BMS
4.6
14
Купить
Подробнее
Ширина
: от 600 до 2000
Высота
: от 350 до 650
Глубина
: 48
Цена:
226
Бортик для кровати Эла BMS
4.1
6
Купить
Подробнее
Ширина
: от 600 до 2000
Высота
: от 350 до 650
Глубина
: 48
Цена:
218
Бортик для кровати Лео BMS
4.2
7
Купить
Подробнее
Ширина
: от 600 до 2000
Высота
: от 350 до 650
Глубина
: 48
-13%
Цена:
246
Бортик для кровати Юна BMS
4.4
18
Купить
Подробнее
Ширина
: от 600 до 2000
Высота
: от 350 до 650
Глубина
: 48
Цена:
178
Бортик для кровати Apple BMS
4.7
8
Купить
Подробнее
Ширина
: от 600 до 2000
Высота
: от 350 до 650
Глубина
: 48
Цена:
246
Бортик для кровати Фенни 2 BMS
4.1
19
Купить
Подробнее
Ширина
: от 600 до 2000
Высота
: от 350 до 650
Глубина
: 48
Цена:
234
Бортик для кровати Брауни BMS
4.3
13
Купить
Подробнее
Ширина
: от 600 до 2000
Высота
: от 350 до 650
Глубина
: 48
-14%
Цена:
262
Бортик для кровати Тина BMS
4.4
14
Купить
Подробнее
Ширина
: от 600 до 2000
Высота
: от 350 до 650
Глубина
: 48
Цена:
234
Бортик для кровати Фенни BMS
4.7
6
Купить
Подробнее
Ширина
: от 600 до 2000
Высота
: от 350 до 650
Глубина
: 48
-16%
Цена:
322
Бортик для кровати Бабочка BMS
4.2
5
Купить
Подробнее
Ширина
: от 600 до 2000
Высота
: от 350 до 650
Глубина
: 48
Цена:
234
Бортик для кровати Эльза BMS
4.7
12
Купить
Подробнее
Ширина
: от 600 до 2000
Высота
: от 350 до 650
Глубина
: 48
Цена:
238
Бортик для кровати Орфей BMS
4.5
13
Купить
Подробнее
Ширина
: от 600 до 2000
Высота
: от 350 до 650
Глубина
: 48
Цена:
246
Бортик для кровати Sunny BMS
4.6
17
Купить
Подробнее
Ширина
: от 600 до 2000
Высота
: от 350 до 650
Глубина
: 48
Цена:
322
Бортик для кровати Элли BMS
4.2
5
Купить
Подробнее
Ширина
: от 600 до 2000
Высота
: от 350 до 650
Глубина
: 48
Цена:
182
Бортик для кровати Рыбка BMS
4.5
20
Купить
Подробнее
Ширина
: от 600 до 2000
Высота
: от 350 до 650
Глубина
: 48
Цена:
202
Бортик для кровати Литл BMS
4.5
3
Купить
Подробнее
Ширина
: от 600 до 2000
Высота
: от 350 до 650
Глубина
: 48
Цена:
254
Бортик для кровати Тесс BMS
4.5
13
Купить
Подробнее
Ширина
: от 600 до 2000
Высота
: от 350 до 650
Глубина
: 48
Цена:
218
Бортик для кровати Фунтик BMS
4.6
6
Купить
Подробнее
Ширина
: от 600 до 2000
Высота
: от 350 до 650
Глубина
: 48
Цена:
350
Бортик для кровати Облака BMS
4.3
14
Купить
Подробнее
Ширина
: от 600 до 2000
Высота
: от 350 до 650
Глубина
: 48
-12%
Цена:
234
Бортик для кровати Мия BMS
4.4
3
Купить
Подробнее
Ширина
: от 600 до 2000
Высота
: от 350 до 650
Глубина
: 48
Цена:
198
Бортик для кровати Винни BMS
4.2
17
Купить
Подробнее
Ширина
: от 400 до 1200
Высота
: от 250 до 550
Глубина
: 48
Цена:
218
Бортик для кровати Бережок BMS
4.6
10
Купить
Подробнее
Ширина
: от 600 до 2000
Высота
: от 350 до 650
Глубина
: 48
-5%
Цена:
286 р.
302
Бортик для кровати Машинки BMS
4.7
8
Купить
Подробнее
Ширина
: от 600 до 2000
Высота
: от 350 до 650
Глубина
: 48
Цена:
322
Бортик для кровати Облачко BMS
4.1
12
Купить
Подробнее
Ширина
: от 600 до 2000
Высота
: от 350 до 650
Глубина
: 48
-7%
Цена:
286 р.
306
Бортик для кровати Облачко-2 BMS
4.1
7
Купить
Подробнее
Ширина
: от 600 до 2000
Высота
: от 350 до 650
Глубина
: 48
Цена:
198
Бортик для кровати Забава BMS
4.5
13
Купить
Подробнее
Ширина
: от 600 до 2000
Высота
: от 350 до 650
Глубина
: 48
Цена:
222
Бортик для кровати ПБ-2 BMS
4.4
12
Купить
Подробнее
Ширина
: от 600 до 2000
Высота
: от 350 до 650
Глубина
: 48
Цена:
218
Бортик для кровати Лис BMS
4.4
12
Купить
Подробнее
Ширина
: от 600 до 2000
Высота
: от 350 до 650
Глубина
: 48
Цена:
190
Бортик для кровати Золушка BMS
4.7
9
Купить
Подробнее
Ширина
: от 600 до 2000
Высота
: от 350 до 650
Глубина
: 48
Цена:
198
Бортик для кровати Джерри BMS
4.1
7
Купить
Подробнее
Ширина
: от 600 до 2000
Высота
: от 350 до 650
Глубина
: 48
Цена:
238
Бортик для кровати Эверест BMS
4.7
5
Купить
Подробнее
Ширина
: от 600 до 2000
Высота
: от 350 до 650
Глубина
: 48
Цена:
190
Бортик для кровати Дубок BMS
4.7
6
Купить
Подробнее
Ширина
: от 600 до 2000
Высота
: от 350 до 650
Глубина
: 48
Цена:
142
Бортик для кровати Ласточка BMS
4.6
16
Купить
Подробнее
Ширина
: от 600 до 2000
Высота
: от 350 до 650
Глубина
: 48
Цена:
226
Бортик для кровати Контик BMS
4.8
4
Купить
Подробнее
Ширина
: от 600 до 2000
Высота
: от 350 до 650
Глубина
: 48
Цена:
202
Бортик для кровати Снежок BMS
4.5
9
Купить
Подробнее
Ширина
: от 600 до 2000
Высота
: от 350 до 650
Глубина
: 48
Цена:
190
Бортик для кровати Знайка BMS
4.4
13
Купить
Подробнее
Ширина
: от 600 до 2000
Высота
: от 350 до 650
Глубина
: 48
-8%
Цена:
234 р.
255
Бортик для кровати Car BMS
4.5
20
Купить
Подробнее
Ширина
: от 600 до 2000
Высота
: от 350 до 650
Глубина
: 48
Цена:
178
Бортик для кровати Гудвин BMS
4.2
18
Купить
Подробнее
Ширина
: от 600 до 2000
Высота
: от 350 до 650
Глубина
: 48
Размеры и цвет
можно изменить на странице товара
Начало
Предыдущая
1
2
3
Следующая
Конец
Заказ звонка
Ваше имя
Ваш телефон
Удобное время для звонка
Сообщение
Введите слово на картинке
*
Выберите отдел
Оформление заказа
Гарантийный отдел
Отдел доставки
Сборка мебели
Нажимая на кнопку «Отправить», вы соглашаетесь с условиями
Обработки персональных данных
и
политикой конфиденциальности
На нашем сайте мы используем cookie-файлы и рекомендательные технологии.
Узнать подробнее
Мы используем cookie-файлы.
Подробнее